
국립생태원에서 제공하는 수많은 자료를 e-Book으로 볼 수 있습니다.
통합검색

제목 : (2017) 백두대간보호지역 생태계 조사.화방재~댓재
발행일 : 2017-01-01 | 조회수 : 15867
카테고리 :
242 목명 과명 국명 학명 St. 1 St. 2 St. 3 St. 4 St. 5 St. 6 합계 특이사항 메뚜기목 메뚜기과 등검은메뚜기 Shirakiacris shirakii 1 1 메뚜기목 메뚜기과 밑들이메뚜기 Anapodisma miramae 1 1 메뚜기목 메뚜기과 수염치레애메뚜기 Schmidtiacris schmidti 1 1 메뚜기목 메뚜기과 원산밑들이메뚜기 Ognevia sergii 1 1 2 메뚜기목 메뚜기과 청날개애메뚜기 Megaulacobothrus aethalinus 1 1 메뚜기목 메뚜기과 팔공산밑들이메뚜기 Anapodisma beybienkoi 1 2 3 고유종, 국외반출 승인대상 메뚜기목 메뚜기과 팥중이 Oedaleus infernalis 1 1 1 1 1 5 메뚜기목 모메뚜기과 참...

제목 : DMZ 일원 생태계 조사 : 민통선이북지역 서부평야권역
발행일 : 2017-01-01 | 조회수 : 17075
카테고리 :
2017 DMZ 일원 생태계 조사 민통선이북지역 서부평야권역 242 ? National Institute of Ecology 2. 조사 지역 및 방법 가. 조사지역 1 조사지점 민통선이북지역 서부평야권역의 주간곤충은 총 8개 구간 빙애, 사동, 덕현골, 덕산리, 산명호, 동송, 토교, 이길리 에 대하여 안전이 확보된 경로를 따라 이동하며 조사를 실시하였다. 야간곤충 조사는 전체 조사 구간 중 야행성 곤충의 다양성이 가장 높을 것으로 판단되는 4개 지점 사동, 덕산리, 산명호, 토교 을 선정하여 실시하였으며, 토교를 제외한 3개 지점은 야간 출입의 제한으로 민통선과 최대한 인접한 민통선 이남지역에서 조사를 수행하였다 그림 119 그림 119. 민통선이북지역 서부평야권역 곤충 조사지점 선 주간 조사 경로, 원형...

제목 : (2018) 전국 무인도서 자연환경조사 : 여수 2권역
발행일 : 2018-01-01 | 조회수 : 13234
카테고리 :
II. 조사결과 www.nie.re.kr ?243 A. 단도의 남쪽 해안에 형성된 파식대. 파식대의 표면에는 타포니와 나마와 같은 화학적 풍화의 흔적이 다수 발견됨. B. 단도의 남쪽 해안에 형성된 패사 해변. 육지의 양식장으로부터 유입된 것으로 보이며, 상부에는 범이 형성되어 있음. 양식장 폐기물이 다수 방치되어 있음. C. 단도의 동쪽 해안에 절리 방향을 따라서 형성된 그루브. D. 단도의 북쪽 해안에 형성된 패사 해변. 양식장 폐기물이 다수 방치되어 있으며, 북서쪽 해안으로는 해식애가 분포함. 2 조사지역은 전남 여수시 율촌면 봉전리 산 204 에 위치하며, 면적이 13,985 ㎡의 사유 지이다. 이 지역에 분포하는 식물군락은 주로 곰솔 등의 상록침엽수 2 차림이며 인위적인 간섭이 심해 자연상태에 가까...

제목 : (제4차) 전국내륙습지 정밀조사(’19)
발행일 : 2019-01-01 | 조회수 : 14360
카테고리 :
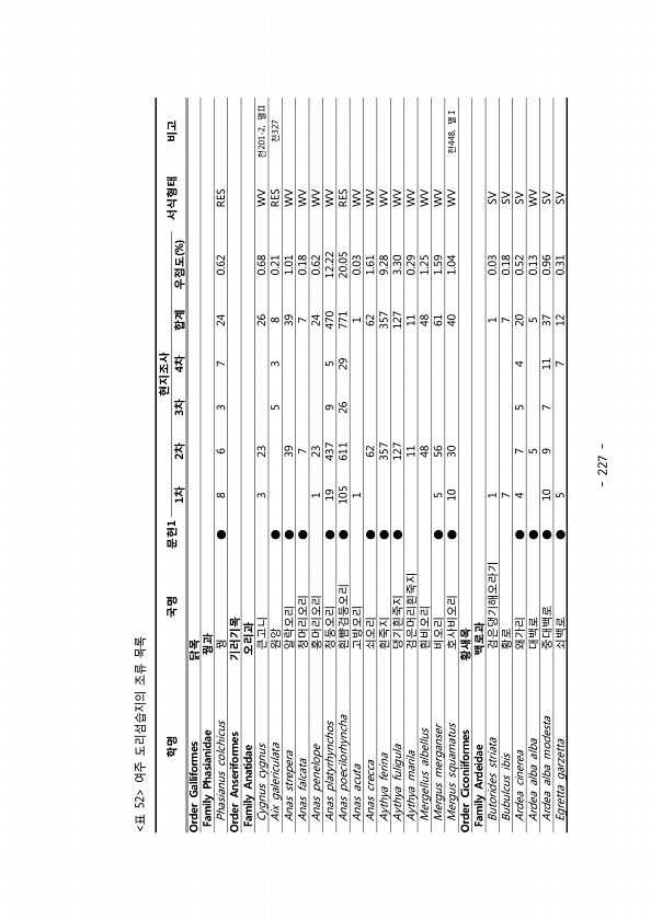
227 학명 국명 문헌1 현지조사 서식형태 비고 1차 2차 3차 4차 합계 우점도 % Order Galliformes 닭목 Family Phasianidae 꿩과 Phasianus colchicus 꿩 ● 8 6 3 7 24 0.62 RES Order Anseriformes 기러기목 Family Anatidae 오리과 Cygnus cygnus 큰고니 3 23 26 0.68 WV 천 멸 201-2, Ⅱ Aix galericulata 원앙 ● 5 3 8 0.21 RES 천327 Anas strepera 알락오리 ● 39 39 1.01 WV Anas falcata 청머리오리 ● 7 7 0.18 WV Anas penelope 홍머리오리 1 23 24 0.62 WV Anas platyrhynchos 청둥오리 ● 19...

제목 : (2018) 특정도서 정밀조사 : 신안남부권역
발행일 : 2018-01-01 | 조회수 : 20602
카테고리 :
II. 조사결과 www.nie.re.kr ?239 1 2 3 II 진목도의 해조류 출현종 수는 보통 정도의 출현종 수를 나타내었으며, 군락 형성 정도 또한 양호하였으며, 외래종이 출현하지 않은 점, 서식지 훼손 정도는 폐어구가 일부 지역 에 있었으나 해조류가 생육하는 환경에 크게 영향을 미치지 않는 것으로 판단되어 보전가 치등급 II 등급으로 평가하였다. 학명 국명 2000 2009 2018 Gracilaria vermiculophylla 꼬시래기 O O 녹조식물문 2 4 5 대롱편모조식물문 2 5 3 홍조식물문 8 7 6 계 12 16 14 사진 246. 파래류 Ulva spp. 와 꼬시래기 Gracilaria vermiculophylla 사진 247. 파래류 Ulva spp. 와 애기우뭇가사리 Gelid...